اپل در سال ۲۰۲۴ درخواست ثبت اختراعی با عنوان «دستگاه الکترونیکی و قاب مجهز به قابلیتهای ارتباط ماهوارهای» ارائه کرد که اکنون جزئیاتش رسانهای شده است. طرح یادشده به قابی اشاره دارد که با بهرهگیری از آنتنهای بیشتر و پیشرفتهتر میتواند کیفیت اتصال ماهوارهای گوشی آیفون را بهبود بدهد.
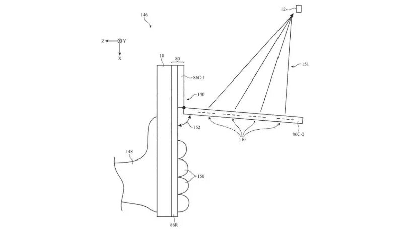
به گزارش خبرآنلاین، به نقل از زومیت، ظاهراً قاب مخصوص اپل برای آیفون و آیپد طراحی شده است. در تصویر ضمیمهشده به پرونده، بخشی تاشدنی دیده میشود که با باز شدن بهسمت آسمان قرار میگیرد تا آرایه آنتن فازی داخلی سیگنال ماهوارهای قویتری دریافت کند. چنین قابی مانع از مسدودسازی سیگنالهای ماهوارهای توسط دست میشود، زیرا کاربر مستقیماً با بخش حاوی آنتن تماس نخواهد داشت.

قاب جدید آیفون امکان اتصال به مجموعهای از ماهوارهها را فراهم میکند. این قاب بهصورت ماژولار نصب و جدا میشود و از نظر کاربری تفاوتی با نمونههای رایج ندارد.
نکتهی مهم دربارهی چنین پروندههایی به ماهیت آنها بازمیگردد. شرکتهای فناوری مانند اپل بهطور مداوم ایدههای متعددی را در قالب پتنت ثبت میکنند که بسیاری هرگز به مرحلهی تولید نمیرسند. اسناد ثبت اختراع بیش از آنکه نشاندهندهی محصولی درحال توسعه باشند، اثبات کارکرد پتنت محسوب میشوند. پس هنوز نمیتوان گفت که قاب جدید اپل به مرحلهی تولید انبوه میرسد یا خیر.
۵۸۵۸
